| 返回索引 |
|
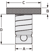
PinLock?球鎖快換系統球鎖軸:PinLock?球鎖快換系統使裝卸夾具時的精密定 位更為簡捷迅速??鞊Q系統組件包括球鎖軸、夾 具板導向套、基礎板定位套,至少要2個成組使 用,其中,夾具板上的導向套有主、副,可以安 裝一主一副,也可兩個都用主導向套,以便提高 精度。導向套和定位套還能夠減少夾具板和基礎 板的磨損。對大型基礎板,可以同時使用多個定 位套,只是注意留出更多的余量以免影響主副定 位套的定位。 |
功能和特點:
|
| 該球鎖軸在桿部設計有螺旋線,使裝卸更簡易且能夠容忍基礎板上一些非完美加工孔的狀況發生 | |
![]() |
![]() |
球鎖軸參數表 |
||||||||||||||||||||||||||||||||||||||||
|
||||||||||||||||||||||||||||||||||||||||






蘇ICP備18021613號-1








